简介
爆破片又称爆破膜,是一种由进出口介质压差作用驱使膜片破裂而自动泄压的装置,是一次性使用的断裂型安全泄压装置。其组成主要有爆破片及相应的夹持器。见下图。

分类
按照爆破片断裂的特征,可以将爆破片分为:
1)拉伸或压缩破坏型。
2)剪切破坏型或弯曲破坏型。
3)失稳破坏型。
它们的主要区别在于膜片预制形状和膜片材料性质不同。拉伸破坏型爆破片使用最广。
结构
拉伸型爆破片
1)膜片顶拱成型并预先夹持好的拉伸型爆破片,见下图。

2)利用透镜垫和锥形夹持器型式的爆破片,见下图。

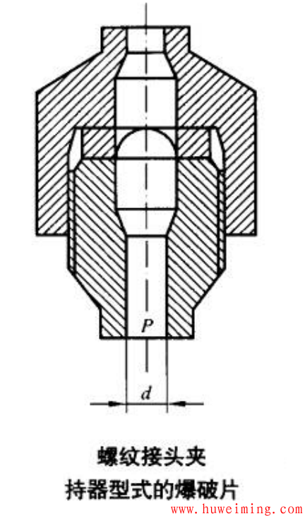
3)螺纹接头夹持器型式的爆破片,见下图。

4)如果在要求不高的场合下使用爆破片,也有不装夹持器而直接利用管法兰夹紧膜片型式的爆破片。
工作原理
膜片预拱成型并预先夹持好的拉伸(正拱)型爆破片,它的爆破压力较为稳定,且可以在很大的压力范围内使用。这种爆破片安装时,将膜片预拱成型的凹面位于系统的高压侧(称为正珙),在压力升高后爆破片因延性伸展而最后断裂。反之,压缩(反拱)型爆破片的凸面位于系统的高压侧,因压缩失稳使膜片触及刀刃(或颚齿、刻槽)而爆裂,或者因失稳而膜片最终翻转脱落。膜片的组合件包括膜片本身和由两个压紧环并用螺栓紧固的夹持器。夹持器的功用是使膜片周边牢固压紧,并能保证其可靠密封、互换定位及准确爆破。
爆破片夹持器的内口径面和夹紧面间应做成圆角,以免膜片受介质压力作用而变形,在尚未达到设计爆破压力时周边被锐角缘切断。
剪切破坏型爆破片组合件。在压力作用下膜片沿着压紧环的内孔边缘被剪切而断裂。也有将膜片加工成中间厚边缘稍薄,或在膜片上车削出环形沟槽等型式。
